qy球友会

学院动态

本站首页 > 学院动态 > 正文

严 正 声 明

发布日期:2024年07月30日 10:25 来源: 作者:

社会上有少数机构和个人非法以qy球友会继续教育学院的名义,从事招生宣传活动,宣传内容不实,欺骗考生和家长,严重损害了我校社会形象。为了以正视听,我们向社会郑重声明,我校继续教育学院没有委托也没有授权非教育部批设的校外教学点和个人开展招生宣传活动,更没有所谓的脱产qy球友会招生项目,也无有偿招生政策望广大市民明辨是非,切莫上当受骗。我校继续教育学院官网及联系电话如下:,0724-2355609(徐老师)。

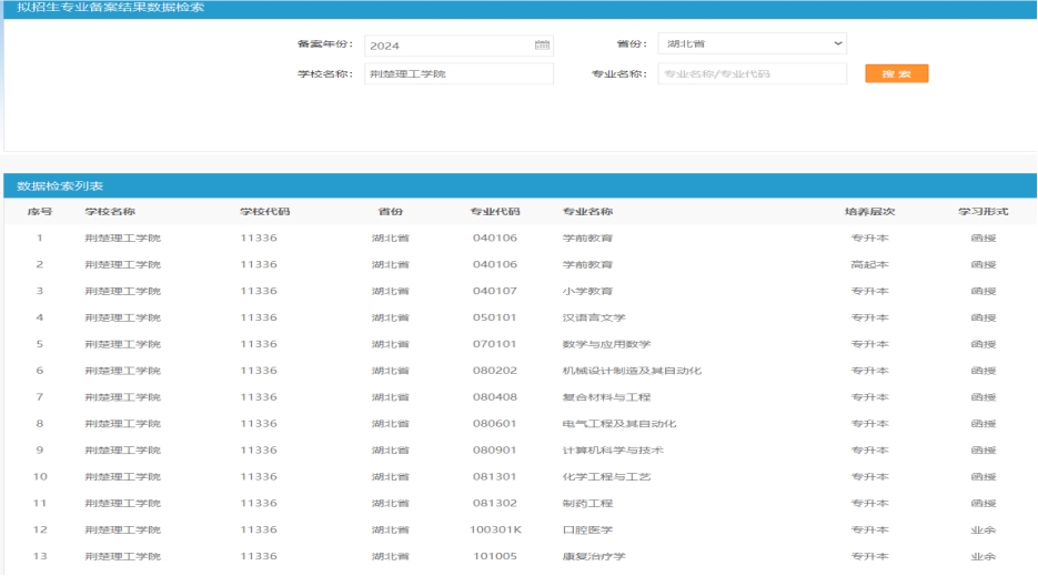
现将qy球友会2024年高等学历继续教育招生专业及校外教学点建设情况公示如下:

 

 

 

 

                      2024年7月28日

 

 

 

 

 

教育部公示 2024年qy球友会高等学历继续教育招生专业

 

教育部公示批设 2024年qy球友会高等学历继续教育校外教学点

2024年qy球友会校外教学点联系方式

序号

单位简称

单位全称

具体联系人

电话号码

1

知金楚才

宜昌知金楚才自修学校

文明白  付清萍

13477149888  15272198696

2

荆门现代

荆门市现代学校

齐伟  马超

13581320073  13093205858

3

洪山经贸

武汉市洪山外经贸学校

石长兵

13308655198

4

随县允升

随县允升职业学校

吴校长  詹红梅

18871136866  13611349161

5

外语翻译

武汉外语翻译进修学校

李辉

15997929998

6

志信教育

武汉市洪山区志信教育培训学校

鲁聪 刘华平  周发芹

15002700096  13972005008  18963944532

7

宜昌艺术

宜昌市三峡艺术设计学校

向宏海

18671710919

8

中瑞培训

武汉市洪山区中瑞培训学校

骆小玲  邓宏

18071722116  18007178973

9

设计专修

湖北设计专修学院

王超

13554422212

10

商务专修

武汉市江岸区商务专修学校

范献华

13026316888

11

知问教育

武汉市洪山区知问教育培训学校

刘宏

18971915460

12

十堰自修

十堰市自修培训学校

刘洋

13597878586

13

谷城英才

襄阳市谷城县英才培训学校

谢红玉

13871736078

14

荆门华明

荆门市掇刀区华明教育培训中心

杨风云  杨彩云

15572475773  13237297887

 


Baidu
sogou